Реклайнер 5216 Zero Gravity Power

- Механизм, встраиваемый в каркас кресла
- Имитирует ощущение невесомости внутри помещения, раскладывание на 180 градусов.
- После полного раскладывания ноги располагаются выше головы, благодаря этому улучшается приток крови к сердцу, что полезно для здоровья
- Конструкция с удлинителем для ног позволяет максимально комфортно отдыхать в разложенном положении.
- Установочные размеры механизма 565 мм
- Возможна комплектация более чем 10 видами пультов управления
- Трансформация с помощью электропривода, максимально допустимая нагрузка 160кг
- Реклайнеры OKIN – это передовые технологии из Германии в соответствии с мировыми стандартами контроля качества сырья и продукции.
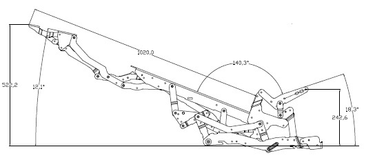
Чертежи

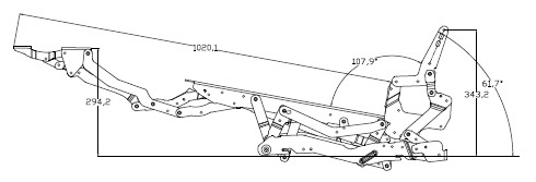
Чертежи